Menu
EUR

Vlakke kabelschoen (m) - 6,3mm / blauw - geïsoleerd (100 stuks)
€30,99 Incl. btw
Toevoegen aan winkelwagen
Vlakke kabelschoen (m) - 6,3mm / blauw - geïsoleerd (100 stuks)

Vlakke kabelschoen (m) - 6,3mm / blauw - geïsoleerd (100 stuks)

€30,99 Incl. btw

type / kleur: vlaksteker / blauw
mannelijk (volledig geïsoleerd)
insteekbreedte: 6,3mm
insteekdikte: 0,8mm
aderdikte: 1,5 - 2,5mm Lees meer.

Vandaag besteld, morgen in huis
  • Klantenbeoordeling 9.2/10
  • Op werkdagen voor 22.00 uur besteld, morgen in huis
  • 10+ jaar productkennis

Productomschrijving

Vlakke kabelschoen (m) - 6,3mm / blauw - geïsoleerd (100 stuks)

Gebruik deze kabelschoen voor diverse toepassingen. Levering omvat 1 zak met 100 kabelschoenen.

Kabelschoenen

Kabelschoentjes zijn veel gebruikte onderdelen in de elektrotechniek. Een kabelschoentje is een Fast On (of Push On) connector die met een speciale krimptang gekrompen wordt aan een koperen kabel. Er zijn verschillende soorten kabelschoenen die u als handig koppelstuk kunt gebruiken om kabels met elkaar te verbinden.

Verschillende kleuren kabelschoenen

Kabelschoentjes zijn er in 3 verschillende kleuren:
  • rood: maximale stroomsterkte tussen 0 en 16A en aderdikte tussen 0,25 en 1,5mm (AWG22-16)
  • blauw: maximale stroomsterkte tussen 17 en 25A en aderdikte tussen 1,5 en 2,5mm (AWG16-14)
  • geel: maximale stroomsterkte tussen 26 en 40A en aderdikte tussen 4,0 en 6,0 mm (AWG12-10)

Specificaties Vlakke kabelschoen (m) - 6,3mm / blauw - geïsoleerd (100 stuks)

  • type: vlakstekker
  • uitvoering: mannelijk
  • isolatie: volledig geïsoleerd
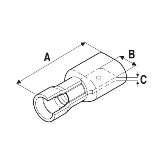
  • lengte: 23,4 mm (zie A)
  • breedte: 6,3 mm (zie B)
  • dikte: 0,8 mm (zie C)
  • maximale stroomsterkte: 17 tot 25 A
  • aderdikte: 1,5 tot 2,5mm (AWG 16 tot AWG 14)
  • materiaal: elektrolytisch vertind koper met nylon isolatie
  • levering omvat 1 zak met 100 kabelschoenen
  • kleur: blauw
  • conform: RoHS, UL (E344188)
  • garantie: 2 jaar

Downloads

Specificaties

SKU
EL-11236263
Soort
Kabelschoen
Kwaliteit
basis kwaliteit
Kleur
blauw
Heeft u vragen over dit product?
Neem contact op met onze klantenservice via [email protected]. Wij helpen u graag!
Heeft u vragen over dit product?
Neem contact op met onze klantenservice via [email protected]. Wij helpen u graag!

Recent bekeken

Elematic Vlakke kabelschoen (m) - 6,3mm / blauw - geïsoleerd (100 stuks)
Elematic
Vlakke kabelschoen (m) - 6,3mm / blauw - geïsoleerd (100 stuks)
type / kleur: vlaksteker / blauw
mannelijk (volledig geïsoleerd)
insteekbreedte:...
€30,99 €25,61
PD Connex PD Connex NL2 - 6,35mm Jack mono speakerkabel - 2x 1,5mm - 10 meter
PD Connex
PD Connex NL2 - 6,35mm Jack mono speakerkabel - 2x 1,5mm - 10 meter
NL2 (v) - 6,35mm Jack (m)
toepassing: versterker > luidspreker
aders: koper (2x ...
€28,99 €23,96
Goobay USB-C kabel | USB3.1 10 Gbps | PD 100W | 4K 60Hz | zwart | 0,50 meter
Goobay
USB-C kabel | USB3.1 10 Gbps | PD 100W | 4K 60Hz | zwart | 0,50 meter
• USB-C (m) - USB-C (m)
• versie: USB3.2 Gen 2x1 / USB3.1 Gen 2
• data: tot 10...
€10,99 €9,08
Op = Op
OTB Losse inlegadapter compatibel met GoPro Hero, HD Hero en Hero2 accu's voor DTC-5101/DTC-5401 basisstation
OTB
Losse inlegadapter compatibel met GoPro Hero, HD Hero en Hero2 accu's voor DTC-5101/DTC-5401 basisstation
losse adapter voor DTC-5101/5401 basisstation
voor 1 accu
voor accu's GoPro ABPA...
€1,95 €1,61

Specificaties

SKU
EL-11236263
Soort
Kabelschoen
Kwaliteit
basis kwaliteit
Kleur
blauw
0/5
0 sterren op basis van 0 beoordelingen
0 beoordelingen
Kies uw taal
Kies uw valuta

Mijn account

Wachtwoord vergeten?

Recent toegevoegd

Totaal incl. btw
€0,00
Bestel nog voor €75,00 en de verzending is gratis
0
Vergelijk
Start vergelijking

Beoordeel Elematic Vlakke kabelschoen (m) - 6,3mm / blauw - geïsoleerd (100 stuks)

Dit artikel is toegevoegd aan uw winkel wagen!