Menu
EUR

Pen kabelschoen (m) - 2,9mm / geel (100 stuks)
€41,99 Incl. btw
Toevoegen aan winkelwagen
Pen kabelschoen (m) - 2,9mm / geel (100 stuks)

Pen kabelschoen (m) - 2,9mm / geel (100 stuks)

€41,99 Incl. btw

type / kleur: pensteker / geel
mannelijk (half geïsoleerd)
diameter pin: 2,9mm
lengte pin: 14mm
aderdikte: 4,0 - 6,0mm Lees meer.

Vandaag besteld, morgen in huis
  • Klantenbeoordeling 9.2/10
  • Op werkdagen voor 22.00 uur besteld, morgen in huis
  • 10+ jaar productkennis

Productomschrijving

Pen kabelschoen (m) - 2,9mm / geel (100 stuks)

Gebruik deze kabelschoen voor diverse toepassingen. Levering omvat 1 zak met 100 kabelschoenen.

Kabelschoenen

Kabelschoentjes zijn veel gebruikte onderdelen in de elektrotechniek. Een kabelschoentje is een Fast On (of Push On) connector die met een speciale krimptang gekrompen wordt aan een koperen kabel. Er zijn verschillende soorten kabelschoenen die u als handig koppelstuk kunt gebruiken om kabels met elkaar te verbinden.

Verschillende kleuren kabelschoenen

Kabelschoentjes zijn er in 3 verschillende kleuren:
  • rood: maximale stroomsterkte tussen 0 en 16A en aderdikte tussen 0,25 en 1,5mm (AWG22-16)
  • blauw: maximale stroomsterkte tussen 17 en 25A en aderdikte tussen 1,5 en 2,5mm (AWG16-14)
  • geel: maximale stroomsterkte tussen 26 en 40A en aderdikte tussen 4,0 en 6,0 mm (AWG12-10)

Specificaties Pen kabelschoen (m) - 2,9mm / geel (100 stuks)

  • type: penstekker
  • uitvoering: mannelijk
  • isolatie: half geïsoleerd
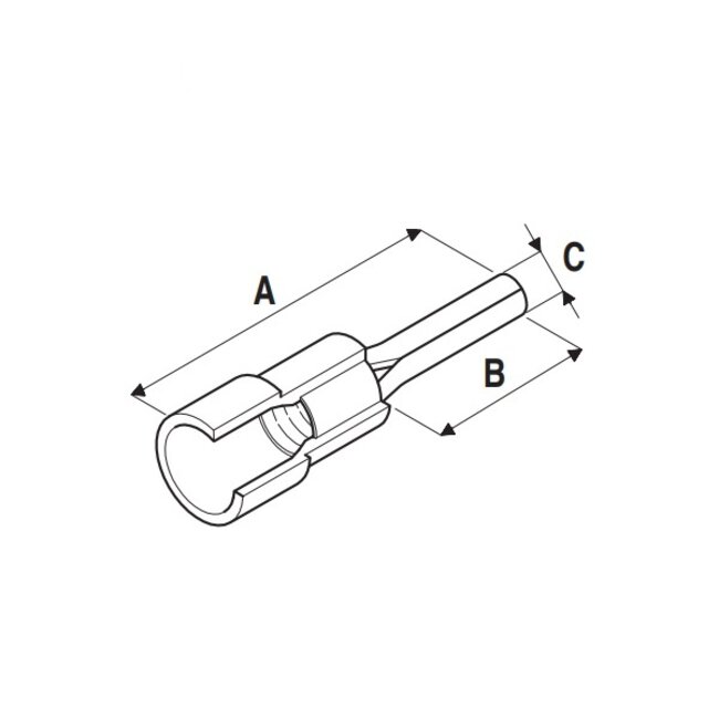
  • lengte: 23,5 mm (zie A)
  • lengte pin: 14 mm (zie B)
  • diameter pin: 2,9 mm (zie C)
  • maximale stroomsterkte: 26 tot 40 A
  • aderdikte: 4,0 tot 6,0mm (AWG 12 tot AWG 10)
  • materiaal: elektrolytisch vertind koper met nylon isolatie
  • levering omvat 1 zak met 100 kabelschoenen
  • kleur: geel
  • conform: RoHS, UL (E344191)
  • garantie: 2 jaar

Downloads

Specificaties

SKU
EL-11210412
Soort
Kabelschoen
Kwaliteit
basis kwaliteit
Kleur
geel
Heeft u vragen over dit product?
Neem contact op met onze klantenservice via [email protected]. Wij helpen u graag!
Heeft u vragen over dit product?
Neem contact op met onze klantenservice via [email protected]. Wij helpen u graag!

Recent bekeken

Elematic Pen kabelschoen (m) - 2,9mm / geel (100 stuks)
Elematic
Pen kabelschoen (m) - 2,9mm / geel (100 stuks)
type / kleur: pensteker / geel
mannelijk (half geïsoleerd)
diameter pin: 2,9mm
l...
€41,99 €34,70
DeLOCK Kabelhouders voor meerdere kabels - 6 stuks / zwart/wit/grijs
DeLOCK
Kabelhouders voor meerdere kabels - 6 stuks / zwart/wit/grijs
kabelklemmen voor meerdere kabels
eenvoudige klemconstructie voor kabels
voor ee...
€9,99 €8,26
Energenie 19 inch stekkerdoos | schakelaar | CEE 7/7 - 8x CEE 7/5 (België) | 1U | zwart | 3 meter
Energenie
19 inch stekkerdoos | schakelaar | CEE 7/7 - 8x CEE 7/5 (België) | 1U | zwart | 3 meter
• contacten: 8
• uitvoering: 90° stekker - 45° contacten
• schakelaar: ja
• kabe...
€42,99 €35,53

Specificaties

SKU
EL-11210412
Soort
Kabelschoen
Kwaliteit
basis kwaliteit
Kleur
geel
0/5
0 sterren op basis van 0 beoordelingen
0 beoordelingen
Kies uw taal
Kies uw valuta

Mijn account

Wachtwoord vergeten?

Recent toegevoegd

Totaal incl. btw
€0,00
Bestel nog voor €75,00 en de verzending is gratis
0
Vergelijk
Start vergelijking

Beoordeel Elematic Pen kabelschoen (m) - 2,9mm / geel (100 stuks)

Dit artikel is toegevoegd aan uw winkel wagen!